What Are Variable Displacement Engines?

You’d think if one owned a V8 Bentley or Audi, fuel economy wouldn’t exactly be a priority. Having something like a Continental GT should mean that you’re cool with nothing much over 10mpg and stupendously expensive road tax. And yet a new wave of variable displacement engines has come to fruition, making gas-guzzling machines a more convenient proposition for those who wish to blend raw power with polar bear-sparing efficiency.
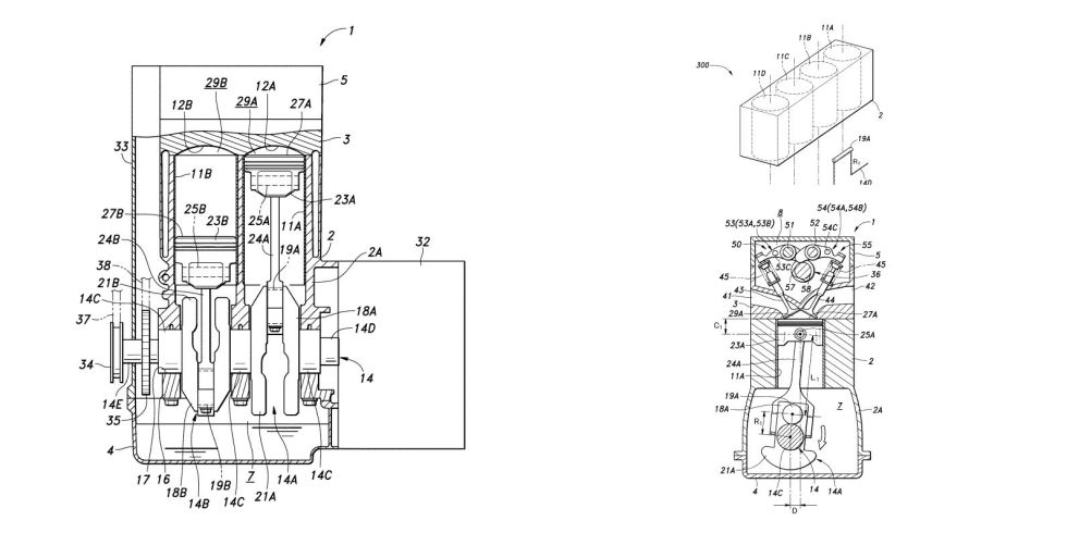
These engines work by deactivating half of the cylinders, leaving them dormant in slow driving, low-load situations like when crawling around a city centre. Like stop-start technology, the full engine will roar back into life once a certain throttle position is reached.

When driving slowly with little to no throttle, the pressure within a cylinder is decreased compared to when under heavy load. This incurs a pumping loss as the engine has to waste energy drawing air into the cylinders to keep it running, thereby decreasing its efficiency. The energy losses at low speeds from larger engines mean that for day-to-day driving, a city car with a small three or four-cylinder engine will have a much higher internal cylinder pressure, making them much more efficient.
A deactivation of cylinders will therefore lead to the air entering from the intake manifold being distributed to less cylinders, increasing the engine’s efficiency. This is specifically done by shutting the intake and exhaust valves of any given cylinder simultaneously, leaving the deactivated cylinder isolated from the engine’s usual functions.
Exhaust gases from the previous stroke are trapped in the cylinder once it is deactivated and are compressed and then decompressed as the piston continues its stroke. This rise and fall in pressure however is virtually equal meaning that no extra load is applied to the engine during deactivation.
An ECU can be programmed to cut the fuel supplied to a cylinder for the deactivation and the ignition timing modified to make the transition between the full engine and the smaller displacement smooth and safe for the powertrain. It is because of this simple electronic control that many companies have pursued variable displacement in light of the constant war on emissions.

The technology was pioneered by Cadillac (a surprisingly innovative company back in the day) and Alfa Romeo, with Cadillac pushing the boat out with a V8-6-4 engine. Alfa went for a simpler 4-cylinder that deactivated down to just two for town driving and were successful in their design but the technology was discontinued after 1983. The M152 engine from the CL63 AMG is a great example of a V8-4 variable displacement engine, along with Bentley’s W12 engine from the Continental GT which simplifies down to just six cylinders.
Honda patented a different angle of variable displacement by trying to control the stroke of the piston rather than a complete cylinder shut down. An innovative crankshaft design means that the cylinder capacity can be changed around at will, giving much more flexibility in comparison to a standard variable system. They have now gone one step further and designed an engine that has completely different stroke lengths for every cylinder, while keeping the cylinder bore identical in each. Despite the patents for these designs, Honda has yet to fully implement these systems in their road cars but they may start with their motorbike engines as guinea pigs for something more spectacular.

By reducing pumping losses and the amount of fuel entering the engine, even a burbling V8 can achieve some form of respectable efficiency. If hybridisation isn’t for you and the term ‘eco’ has no significance in your life, this technology may be for you. In a world full of downsizing and turbocharging, variable displacement still gives hope to those who see low full consumption as characterful rather than a scourge. Because, really, there’s still no replacement for displacement.
Comments
looks like a transformer
You forgot to mention Bugatti’s power-o-meter
Forgot to mention Holden? Have been doing this since the VE Commodore.
Not since launch. And I don’t actually think the VF has this (don’t quote me).
I was expecting some kind of new tech that allows the entire engine to change to any displacement at will,like 2.0L at town speeds and 20L at LSRs
Same :D. Sad truth, that tech isn’t here yet :P
There’s no replacement for displa…
Wait. What?
Who would rather have a hybrid over this?
What if that hybrid is the 918,p1,laferrari,regera.
Anyone here still remember the Freevalve system?
From Christian Von Koenigsegg? I remember watching videos about it, don’t really know how the project is going right now…
can u explain it ? I neevr heard of it
yea but when he made the free valve system audi were already making cars with variable displacement years before, and a lot of engineers thought about the the free valve way before they just didn’t have the technology to make it back then.
I love the idea. Basically, someone heard our prayers in keeping us petrolheads happy for a little longer in this huge Hybrid/Electric takeover. I hope this succeeds, I really do.
But im TeslaKid!!!!!
Cylinder deactivation is nothing new, and it’s not really variable displacement!
Peugeot also worked on a variable compression ratio engine few years ago, that, was innovative!
Also, Mercedes S-Class S600 had something like this. In 2000/2001
vcr technology is meant for small engine. but, i think peugeot mce-5 vcr-i is brilliant because it is different from other vcr engines.
Btw isn’t variable valve timing basically manipulates the effective displacement?
Pagination