Volvo Has Filed A Patent For A Sliding, LHD/RHD-Capable Steering Wheel

Having to produce both right and left-hand drive cars is an additional complexity most manufacturers would probably like to do away with. A few do so by not bothering to build some models for right-hand drive markets - which are in the minority - at all, but Volvo has a different solution. It seems to be proposing doing away with fixed driving positions full stop.
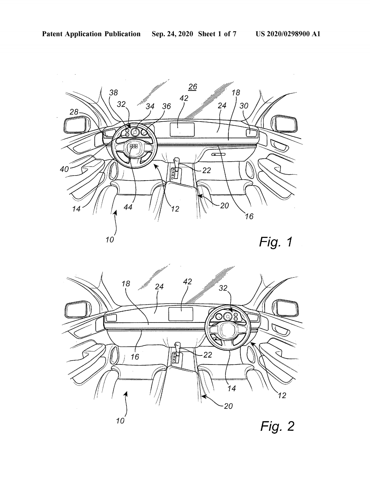
A recent patent filing from the Swedish company shows a sliding steering wheel and gauge cluster assembly, which would allow for both left and right-hand drive positions in one car. The gear selector can be moved to either side of the centre console, while the seats are shown to have some degree of lateral movement to tailor the driving position to the user’s desires.
The patent also proposes that the brake and accelerator pedals could be replaced with pressure-sensitive pads in both footwells, which would only become active once the steering wheel is positioned over them. An interesting idea, but we can’t help but think modulating braking and throttle inputs could prove tricky with something like that.

The most obvious benefit is only having to produce one kind of car for both left-hand drive and right-hand drive markets. However, the patent also suggests this arrangement could - if/when higher levels of vehicle autonomy are safely achieved - allow for the steering wheel to be moved out of the way if the car has taken over driving duties. This would give more room and comfort for whoever’s in what used to be the driving seat.
Plus, it’d be useful for anyone taking their car from a country that drives on the right side of the road to one on the left or vice versa. The most prominent example would be anyone crossing the Channel between France and the UK - typically over two million cars make that journey every year.

An unconventional steer-by-wire system would - of course - be necessary to make this work, meaning steering feedback would have to be ‘faked’ for driving to feel natural. Infiniti attempted this with its steer-by-wire system, but never quite pulled it off.
Weird and wonderful patents like this crop up all the time, and a great deal never lead to anything that goes on sale. This seems like one of the more unlikely ones, although something similar does exist IRL in the Mercedes Unimog - it has a moveable by-wire steering wheel assembly, allowing the driver to sit wherever they need for the task in hand.
Comments
Wouldn’t be the first time this concept was tried. I forget who made the car originally, but Top Gear sometime in the 2000s drove a car with this exact set up. I want to say it’s Peugeot but I can’t be sure.
It was an Opel, I think. Recall James May saying something like it being “not the next Vectra, or even the one after that, but one day…”
It sounds really good on paper. But what are the possibilities that a driver gets into the car after a night of drink and immediately hands over controls to his passenger because he had one too many drinks… over and over and over?
Mercedes Unimog already has this? Can slide wheel and cluster to the other side although a couple pieces you have to remove. Still easy
https://youtu.be/8bK252NN0fs
You didn’t read all the way through, did you…?
Its a very interesting concept, I have seen it done before in a Unimog and stuff and also another car years ago I dont remember the exact name of it sadly but yeah, definitely interesting concept!
How about a central driving position in a sedan
nyet!
eBussy has already beaten Chi-Comm-owned volvo to the punch: https://electricbrands.de/en/ebussy/
Omg, that’s one of the most adorable EVs i’ve seen so far.
Considering that the steering is now electronic in most cars, why is this not a standard?