Ford Has Patented A ‘Manual Gearbox’ For Electric Cars
_1.jpg?width=1600&aspect_ratio=16:9)
One of the biggest enthusiast fears about electric cars is the loss of the manual gearbox. Three-pedal setups are already fast disappearing from combustion cars as automatics get better and more popular, but in EVs, where the electric motors usually directly drive the wheels without any sort of gearbox, there’s essentially no need for any sort of gear selection besides drive, reverse and park.
In an effort to up the enthusiast appeal of EVs, though, certain manufacturers have either already introduced or are looking into ways of simulating gearshifts in their electric cars. The latest is Ford, which has filed a patent for a ‘manual gearbox’ to be installed in EVs.

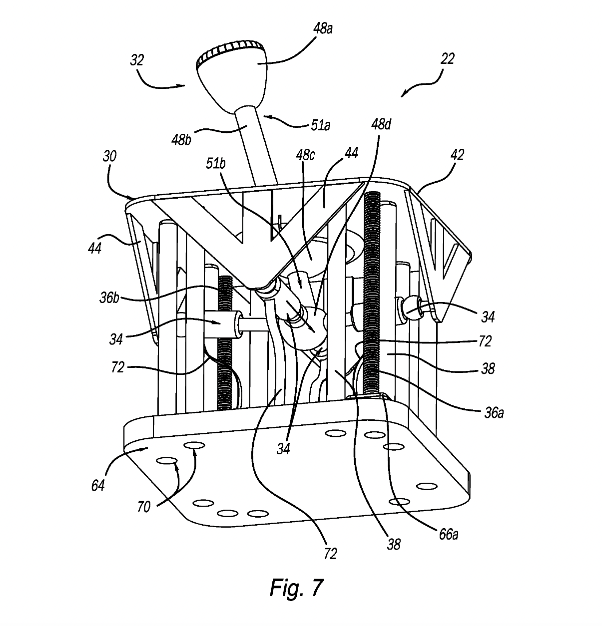
The patent, which was first filed in September 2023 and has just been publicly listed, was spotted by Inside EVs. It’s described in short as a traditional manual gearknob linked to a series of actuators which, when operated, changes the flow of electricity from the battery to the motors – effectively mimicking the way changing up or down a gear in a combustion engine delivers different levels of power and torque.
The system could additionally be used as a back-and-forth sequential shifter as well as an H-pattern manual, although it's not clear if a clutch pedal would be featured.

Ford isn’t the only manufacturer looking into ways of making the EV driving experience more appealing to dedicated ICE car enthusiasts. The Hyundai Ioniq 5 N already does an impressive job of simulating shifts, albeit with paddles rather than a traditional manual gearstick, and the updated Lexus RZ features something similar.
Toyota has also produced electric prototypes with a system that mimics a manual gearbox, using sensors and software that detect the movement of the ‘gearknob’ and adjust torque output accordingly.

Honda, meanwhile, is not only looking into synthesised gears, but using vibrations through the seat to replicate the imperfections that make a good internal combustion engine so appealing.
As for whether Ford’s idea gets any further, we’ll have to wait and see – the company’s been filing some fairly wacky patents lately, from deployable door screens for the Bronco to tech that detects speeding cars and grasses them up to the police. If the Mustang ever does go electric, though, this could make the pill slightly less bitter.
Comments
No comments found.